熱電偶在使用中儀表工常會遇到顯示儀表溫度顯示最大、溫度顯示波動、溫度顯示偏高、溫度顯示偏低或用錯熱電偶等情況,針對這些熱電偶故障現象,昌暉儀表整理了13個熱電偶維修實例分享給大家,豐富儀表工實戰經驗。
1、溫度顯示最大
[實例1]氧化器T503測點溫度突然波動,顯示值超溫。
[故障檢查]出故障前裝置的三個測點溫度顯示平穩,但感覺T503與其他兩點的溫差有點大,正在找原因時,T503溫度突然波動,最低時為500℃左右,最高時接近儀表量程上限800℃,另兩點溫度正常。測量該點熱電勢的確很高,判斷熱電偶有問題。
[故障處理]更換一支新的熱電偶后,溫度顯示恢復正常。
[維修小結]同一個裝置的多點溫度測量,當某個點的溫度顯示突然大幅度波動時,不用過多考慮顯示儀表問題,可直接針對該熱電偶查找故障。本例更換熱電偶后恢復正常。換下的熱電偶沒有人再去關注它、檢查它,所以不清楚熱電偶故障的真正原因是什么,只能推測是熱電偶老化變質故障而已。
2、溫度顯示波動
[實例2]煤氣爐爐頂出口煤氣溫度顯示大幅度波動,但停爐時基本不波動。
[故障檢查]根據以往經驗,這是熱電偶保護套管被磨損已泄漏的前兆。
[故障處理]更換保護套管,熱電偶損壞則一起更換。選擇使用耐磨熱電偶保護套管解決了問題。
[]就要更換,更換遲了保護套管就被磨通,熱電偶與煤氣直接接觸,煤氣中含有水汽,使熱電
[故障分析]煤氣爐出口煤氣中含有粉塵,熱電偶保護管的磨損很嚴重,用不了幾個月就要更換,更換遲了保護管就被磨通,熱電偶與煤氣直接接觸,煤氣中含有水汽,使熱電偶出現接地,短路現象,導致熱電勢波動,表現在顯示儀表上就是溫度大幅度波動,停爐時基本不波動是由于沒有煤氣通過管道,停爐時也沒有人去關心溫度的真實性。
對于熱電偶保護管材質選用,建議讀者參閱技術文章“熱電偶保護管材料及使用場合”。
[實例3]合成塔催化劑溫度顯示波動
[故障檢查]催化劑溫度測量使用11支鎧裝熱電偶,一直很正常,有一天操作工反映:有5個點的顯示記錄嚴重波動。儀表工檢查接觸沒有問題,觀察發現檢修工在合成塔旁進行電焊作業,只要電焊工一焊接儀表就波動,停止焊接儀表就不波動,看來是干擾造成儀表波動。對出現問題的5支熱電偶進行檢查,發現這5支熱電偶都有接地現象,沒有出現問題的另6支熱電偶沒有接地現象。
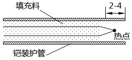
[故障處理]對這5支熱電偶的熱點采取浮空措施,解決了干擾問題。具體方法:重新焊接熱電偶,焊接前把填充劑去除2-4mm深,用鑷子絞合兩電極,絞線要盡量短,然后用氣焊焊接,使熱點等于或短于熱電偶鎧裝護套,使其不能和鎧裝護套相碰,如圖1所示。新焊接的熱電偶校準合格后使用。

圖1 鎧裝熱電偶焊接示意圖
[維修小結]本例為了減少測溫的時間常數,采用了露端式鎧裝熱電偶,在同一保護套管中多支熱電偶的插入深度不同,就會出現插入淺的熱電偶熱點碰著插入深的熱電偶鎧裝護套,而鎧裝護套又與保護套管接觸,形成熱電偶的接地現象。 該例故障是電焊機引發的,是地電流造成的,電流回路是:工藝管道→合成塔→熱電偶保護套管→熱電偶鎧裝護套→熱電偶的熱點→補償導線→顯示儀表→地,該干擾屬于共模干擾??朔材8蓴_的有效方法就是使熱電偶浮空。
鎧裝熱電偶選用及詳盡技術參數可參閱http://m.rjxysw.com/product/109.html。
[實例4]變換爐三段出口溫度偶爾會波動,一旦波動溫度就亂顯示。
[故障檢查]儀表工到現場后顯示又不波動了,為了避免再出現波動,對測量回路的接線端子進行了緊固。沒有幾天波動又出現,檢查發現補償導線電阻值高達80Ω,經檢查系補償導線中間絞合的接頭接觸不良。
[故障處理]重新對補償導線的接頭進行處理,把絞合連接改為螺釘連接。
[維修小結]一根補償導線的電阻有80Ω,顯然不正常。在電纜橋架,分線盒用分段測量電阻的方法檢查,檢查分線盒時發現該點的補償導線被絕緣膠帶包扎,拆開發現補償導線是用絞合方式連接的,按規定補償導線中間不應該有接頭,不知施工方當時出于什么原因留下了隱患。 接頭受到現場環境的氧化、腐蝕、振動使其接觸電阻增大并變化,導致顯示儀表波動和亂顯示。
中間沒有接頭的導線,分段檢查,測量時要斷電后進行;在萬用表的兩個表筆上各焊上一顆大頭針,用來刺穿導線的絕緣層與導線接觸進行測量,來判斷導線是否短路或斷路。
[實例5]T1603的溫度顯示曲線大幅波動。
[故障檢查]觀察歷史曲線波動幅度一開始并不明顯,隨著時間的推移波動幅度越來越大。在機柜處測量現場來的熱電勢信號,也是波動的毫伏信號。曾懷疑有干擾,但原來很正常,最近在熱電偶及電纜橋架附近沒有新增加大功率的用電設備。考慮從接觸不良著手進行檢查。檢查發現熱電偶的外皮有裂紋,且裂紋處有潮濕的氧化鎂脫落現象,熱電偶有損壞現象。
[故障處理]更換熱電偶,顯示恢復正常。對熱電偶采取了減振措施。
[維修小結]本例鎧裝熱電偶直接插在設備預留的套管中使用,過長部分則盤繞后綁在設備上,振動使熱電偶與設備產生摩擦,時間一長熱電偶的外皮被磨壞,水蒸氣從破損處滲透到氧化鎂中,引起絕緣層膨脹,使裂紋再次擴大;由于絕緣電阻下降使熱電偶接地,加上有振動,使接地電阻忽大忽小,反映在溫度曲線上就是大幅度的波動。
3、溫度顯示偏高
[實例6]某廠熱處理電爐溫度控制,高溫段儀表顯示總是比標準表測的溫度高25℃左右,有時甚至高達38℃以上,并且控溫效果也差。
[故障檢查]對控制儀表進行校準,更換一支新的熱電偶使用,問題依然存在。既然儀表和熱電偶都正常,就有可能存在干擾。測量顯示儀表輸入端的對地交流電壓,正端對地干擾電壓有 30V左右,顯示偏差是共模干擾造成的。
[故障處理]使熱電偶保護套管浮空。
[維修小結]電爐溫度升至800℃以上時,耐火磚的絕緣電阻會下降,非金屬熱電偶保護套管的絕緣電阻也下降,電爐的加熱電源會通過漏電阻→熱電偶保護套管→熱電偶電極→補償導線→儀表輸入、放大電路的接地點→地構成一個回路,漏電流經過放大就成了一個可觀的誤差。簡單方法就是使整支熱電偶浮空切斷漏電流的通路。
4、溫度顯示偏低
[實例7]變換爐二段中層催化劑溫度顯示偏低,且伴有微小波動現象。
[故障檢查]檢查控制室內的接線端子沒有發現異常。到變換爐上檢查熱電偶,發現熱電偶接線盒內負極接線螺釘松動。
[故障處理]緊固熱電偶接線盒內的接線螺釘。
[維修小結]本例熱電偶接線盒內接線螺釘松動,接觸不良使接觸電阻增大,等于增大了熱電偶的內阻,而出現溫度偏低故障;工藝管道有振動,接線螺釘松動處的接觸電阻也跟著變化,這個不穩定的接觸電阻導致輸出熱電勢的不穩定,這就是溫度顯示偏低,且伴有微小波動現象的原因。
[實例8]某常減壓裝置塔頂溫度,一到下雨天溫度就偏低近20℃,天晴后該溫度就恢復正常。
[故障檢查]控制室測量熱電勢穩定,對測得的溫度工藝不認可,理由是天晴時這個溫度就恢復正常,現場檢查發現熱電偶接線盒有進水現象,抽出熱電偶芯發現有輕微帶水現象。
[故障處理]對熱電偶及保護套管進行干燥處理后,并緊固了熱電偶的密封螺釘。
[維修小結]該鎧裝熱電偶系外加保護套管,安裝在操作平臺下面,由于與保護套管之間的密封螺釘沒有上緊,一到下雨天,平臺上的雨水漏下,就隨著螺釘密封面進入保護套管內,出現一下雨就進水,雨水在高溫環境蒸發,冷凝,在保護套管中形成飽和蒸汽狀態,從而降低了熱電偶的熱端溫度,晴天雨水蒸發干后故障就自然消除了。
[實例9]加氫裝置的一個測溫點偏低40℃左右。
[故障檢查]本例用的是雙支熱電偶,在儀表盤后對熱電勢進行測量,兩支熱電偶的熱電勢差距很小,儀表工認為溫度是可信的,沒有再進行檢查,但工藝人員一直說溫度不正常。到現場檢查熱電偶,打開熱電偶接線盒后發現里面有柴油浸泡且有氣泡輕微冒出,是熱電偶保護套管泄漏。
[故障處理]更換熱電偶保護套管
[維修小結]檢查發現了安全隱思,該裝置屬于新開工,為此對安裝的熱電偶保護套管進行了檢查和耐壓試驗,將檢測出不合格熱電偶保護套管,退回生產廠進行更換。
[實例10]操作工反映上位機顯示的溫度有時正常,但有時又會偏低。
[故障檢查]查看溫度記錄歷史曲線有上述現象,但沒有規律且偏低值是變化的。先旋緊所有接線端子,但沒有改觀。排除了接觸不良,考慮是不是熱電偶有問題,有人提出,該安裝點振動較大,會不會影響到補償導線絕緣層的磨損?到現場檢查發現熱電偶接線盒出線口處補償導線絕緣層磨損并碰殼。
[故障處理]對補償導線絕緣層進行包扎。
[維修小結]本例故障在熱電偶安裝,使用中偶爾會發生,安裝時把補償導線的絕緣層剝得太多,使補償導線與熱電偶接線盒出線口相碰,設備的溫度高及振動大,會使補償導線絕緣層老化及磨損,由于振動使導線有時碰殼,有時又不碰殼,就出現不碰殼顯示正常,一碰殼就偏低的故障現象。
[實例11]第二熱交換器出口煤氣溫度比正常值偏低50℃左右。
[故障檢查]在儀表盤接線端子測量熱電勢,換算后溫度為335℃,試車前儀表都經過校準,測量值應該是可信的。工藝堅持認為溫度偏低要求處理,擬對熱電偶進行更換,拆卸發現該熱電偶芯較短,查對設計表確定該熱電偶用短了。
[故障處理]更換為長度合適的熱電偶。
[維修小結]本例故障屬于熱電偶插入深度不夠,使溫度顯示始終偏低的故障,這類故障只有拆卸熱電偶芯才能發現問題。工藝認為該溫度偏低,是根據變換爐的一段反應溫度判斷的,可看出儀表與工藝的協調,配合很重要。
[實例12]大檢修更換變換爐入口熱電偶,開車時該溫度一直在室溫附近。
[故障檢查]斷開記錄儀輸入端一根線,測量有沒有短路現象,發現電阻值在150Ω左右,到現場看銘牌上標的是WZP,是把熱電阻當熱電偶用了。
[故障處理]更換為熱電偶。
[維修小結]有的裝配式熱電偶與熱電阻的外形幾乎一樣,不經過認真核對,誤將熱電阻當成熱電偶用,導致該測點顯示溫度一直在室溫附近。這樣的情況不應該發生。
[實例13]某廠的電加熱爐,六個測溫點都出現控溫不理想的情況,溫度偏差現象嚴重。
[故障檢查]檢查6支熱電偶都正常。電工檢查電加熱棒也沒有問題。重新整定溫度控制的PID參數及投運自整定,控溫效果仍然不理想。深入檢查發現熱電偶補償導線與加熱棒的電纜放在同一個線槽內。
[故障處理]把補償導線與加熱棒的電纜分開敷設,儀表就正常了。
[維修小結]熱電偶補償導線與加熱棒電纜放在同一個線槽內就是錯誤做法,很容易出現干擾。一定要把儀表的信號線與電力線分開敷設。
推薦閱讀
輕松搞定熱電偶故障
熱電偶、鎧裝熱電偶維修實例
